Work
About
Contact
Terence Gelo
Work
About
Contact

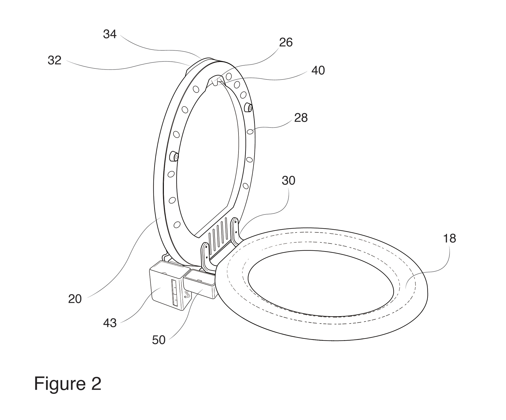
Patent Drawings

Patent drawings done for a toilet sanitation system.

You may also like

EGO® Waterproof Duffels
Product Design, Spec Work, Engineering, Soft Goods, Sourcing, Design for Manufacture
Flambeau®: Tackle Bags
Product Design, Spec Work, Soft Goods, Sourcing, Design for Manufacture
Igloo Products Corp® RealTree Collection
Product Design, Spec Work, Soft Goods, Sourcing
Tapped Drafthouse & Kitchen: Branding
Branding, Graphic Design, Web Design, Typography
Taxa Outdoors®: Woolly Bear® Overland
Habitat Design, Engineering, Outdoor Industry, Transportation Design
Amphora: Wine Storage and Aeration
Product Design. 3D Modeling, Rendering, Housewares
Calcutta® Prym1® Tackle Bags
Product Design, Spec Work, Soft Goods, Sourcing
Vivify Product Development™: Branding
Branding, Graphic Design, Web Design, Typography
Taxa Outdoors®: Kammok® Edition Woolly Bear®
Habitat Design, Engineering, Outdoor Industry, Transportation Design
Viago™: Travel Container
Product Design, Engineering, Design for Manufacture, Rendering
↑Back to Top
©2022 Terence Gelo - (210)-618-1240 - terencegelo@gmail.com - Houston, TX - Please contact for information regarding copyright usage.